PLC、电工、变频器、制造业技术人才分享交流!
1:启保停用SFC怎么写,自锁条件怎么处理用SET。在SFC里面,要是不在这个块里面运行,这个块里面所有的OUT指令都会失去作用,SET是可以保持的。
2:组合位元件指令怎么理解?使用规则,Kn+组件的起始地址,n表示组数,一组有四个位元件。常用的有KnX、KnY、KnM、KnS。
例如K1X0表示1组4位X组成位元件X3~X0。
K2X0表示2组8位X组成位元件X7~X0。
K3M0表示3组12位X组成位元件M11~M0。
K3X0表示3组12位X组成位元件x13~x10,X7~X0x、Y是八进制位元件,M、S是十进制位元件。组合位元件在编程中,带来很多方便。例如movk1x0k1y0,利用梯形图来说明下。第一个指令与后面所有指令表达的意思是一样的。


可以通过以下几个方面去排查:
1:软件设置:包括PLC设置以及组态软件的设置;
2:硬件问题:包括通讯线是否损坏?通讯接口是否损坏?
5:RS485怎么接线?RS485接口组成的半双工网络,一般是两线制(以前有四线制接法,只能实现点对点的通信方式,现很少采用),多采用屏蔽双绞线传输。这种接线方式为总线式拓扑结构在同一总线上最多可以挂接32个结点。
在RS485通信网络中一般采用的是主从通信方式,即一个主机带多个从机。很多情况下,连接RS-485通信链路时只是简单地用一对双绞线将各个接口“A”、“B”端连接起来。
RS485接口连接器采用DB-9的9芯插头座,与智能终端RS485接口采用DB-9(孔),与键盘连接的键盘接口RS485采用DB-9(针)。
两线制就是2根线来传输信号,Data+Data-,差分信号;
四线制就是4根线来传输信号,T+T-,R+,R-,当然,也是差分信号。

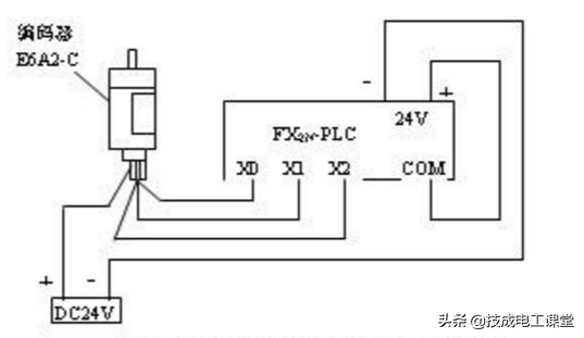
旋转编码器可以提供高速脉冲信号,不同型号的编码器输出的频率、相数也不一样。
有的编码器输出A、B、C三相脉冲,有的只有输出两相脉冲,有的只有一相脉冲(如A相),下图是FX2N与OMRON的E6A2-C系列旋转编码器的接口示意图。

(技成培训原创,作者:技成辅导员,未经授权不得转载,违者必究!)
⇩领取资料