BGD30型大摆锤
设计说明书
编制:
审核:
批准:
XXXX游乐设备有限公司
目录
1.概述
2.大摆锤的总体设计
3.机械系统设计
4.传动系统设计
5.气动系统设计
6.电气系统设计
7.外构件的选用
8.载荷试验
9.安全措施
10.应急情况处理
11.维护与保养
12.对制造运输方面的特殊要求
1.概述
1.1设备特点及应用:
该设备广泛用于城市中的广场、公园、游乐场所等,由于其运动气势磅礴,可以大量吸引顾客,因此市场前景广阔。
1.2工作条件和工作环境
1.TN-S系统(三相五线制),装机容量不小于180KW.
2.当电源电压波动范围超过额定值的±10%时,应暂停运营,直到恢复正常。
3.在室外环境使用,当天气出现或预计可能出现恶劣天气(如雷电、雨、雪、霜、大雾、大风、地震等)或知道有可能随时停电等紧急情况时;在室内环境使用,遇到火灾、地震以及其它特殊情况,或知道有可能随时停电的情况时,应禁止运营。
4.适用于海拔2000米以下的地区;运行的环境温度-2~40℃;环境相对湿度不大于90%;风力不超过15m/s。
5.工作场地应具有足够的面积。
1.3设计依据:
本产品依据市场需求,参考国内外同类产品,采用气动、电气控制,整机符合下列规范和标准
(1).《大型游乐设施设计文件鉴定规则(试行)》
(2).《游乐设施安全技术监察规程(试行)》
(3).GB8408-2008《游乐设施安全规范》
(4).GB18164-2008《观览车类游艺机通用技术条件》
2.总体方案设计
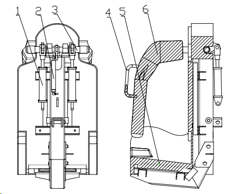
2.1主要结构:
该设备主要有立柱、转盘及吊臂、驱动转体、升降平台、气动系统、电气系统等部分组成。
该设备采用钢结构主体,四立柱与地面呈一定角度对称布置,上部布置摆锤驱动装置,中间悬挂吊臂,吊臂下部安装转盘与驱动、座椅等装置,地面布置乘降平台。整个设计尽量保持重心在设备的几何中心线上,使设备整体稳定性好,牢固可靠。
2.2工作原理:
立柱上部布置驱动转体总成,中部是转盘及吊臂等装置,地面布置升降平台。转盘一圈座椅面朝外布置,座椅安装了安全压杠和安全带,座椅两侧设置了安全扶手,座舱载客沿水平轴纵向摆动,同时绕转盘轴旋转。公转与自转有机组合的运动形式,在离心力的作用下,使游人交替体验强烈的超重和失重感。
2.3总体方案的拟定
在大摆锤的功能中,摆动和转动是最主要的功能。这两项功能实现的技术基础是完美的机械结构设计和良好的电气控制。本次设计就是在这一思维下展开的。根据设计内容和需求确定设计方案:利用电机与行星减速器各四台驱动回转支承体,回转支承体驱动吊臂与转盘摆动,另两台电机与摆线针轮减速器驱动下部回转支承,回转支承带动转盘及乘客同时绕转盘轴旋转。考虑到环保要求,同时满足结构简单、易于安装维护的要求,平台升降采用气动完成,座椅锁止自动完成,总体电气执行采用PLC控制。见图1

图1
2.4主要技术参数
大摆锤的技术参数是说明其规格和性能的具体指标。主要技术参数如下:
主要技术参数
参数
参数值
载客人数(每次最多)
30人
额定载荷
70kgX30
设备高度
14.33m
摆锤复摆角度
±120°
摆锤最大转速
1.5rad/s(20m/s)
灯饰功率
约5KW
摆锤最大加速度
0.94rad/s(12.69m/s)
装机容量
180KVA
电源
3N+PE380V/220V50HZ
压缩空气压力
0.6-0.8Mpa
转盘转速
0.73rad/s(2.2m/s)
驱动功率
空压机功率
11KW
174KW
摆动电机
37KWx4
转动电机
7.5KWx2
纵向旋转中心轴高(距台面)
13.95m
运行周期
3~4min
转盘直径
6m
占地面积
(21×20)420㎡
设备总重
44ton
2.5主要技术参数选取说明
2.5.1摆锤复摆角度±120°:
(1)该设计符合《机电类特种设备制造许可规则(试行)》中关于观览车类摆角≥90°的规定。
(2)考虑设备构件的强度及安全装置的设计制约,摆动角度选定±120°。
(3)考虑人的承受能力,摆动角度不宜过大。
(4)能够满足游乐设备的设计要求,游客乘坐在高速旋转的摆锤上往复摆荡、旋转,令人目眩神迷,惊心动魄。极大的提高了整个游乐场欢乐气氛,使许多游客留恋忘返。
2.5.2摆锤最大转速1.5rad/s(20m/s),转盘转速0.73rad/s(2.2m/s)
(1)考虑设备构件的强度及安全装置的设计制约,摆锤转速定为1.5rad/s(20m/s),转盘转速定为0.73rad/s(2.2m/s)。
(2)考虑人的承受能力,转速不宜过大,以免引起过度恐慌眩晕等身体的不适。
(3)能够满足游乐设备的设计要求,满足乘客的娱乐要求
2.5.3运行周期3~4min
(1)考虑设备构件的强度及安全装置的设计制约,摆锤运行周期3~4min。
(2)考虑人的承受能力,摆动速度及回转速度不宜过大,以免引起身体不适。
(3)能够满足游乐设备的设计要求,使乘客体验到娱乐的惊险刺激,又留恋忘返。
2.6安全特性的考虑:
机械安全是指设备在按使用说明书规定的预定使用条件下,执行其功能和在对其进行运输、安装、调试、运行、维修、拆卸和处理时对操作者不发生损伤或危害其健康的能力。设计上主要考虑:
2.6.1系统性考虑安全设计:
建立在心理、信息、控制、可靠性、失效分析、环境学、劳动卫生、计算机等科学技术基
础上,并综合与系统地运用这些科学技术,将机械电气的安全综合考虑。
2.6.2防护性安全设计:
通过对机械危险的识别,使机器在整个寿命周期内发挥预定功能,包括误操作时,设
备和人身均是安全的,使人对劳动环境、劳动内容和主动地位的提高得到不断改善。
2.6.3友善性安全设计:
人与机器之间建立起一套满足人的生理特性、心理特性,充分发挥人的功能的、提高人机系统效率的安全系统,在设计中通过减少操作者的紧张和体力来提高安全性,并以此改善机器的操作性能和提高其可靠性。
2.6.4整体性安全设计:
全面、系统地对导致危险的因素进行定性、定量分析和评价,整体寻求降低风险的最优设计方案。
移动式设备抗倾覆、抗滑移、防松予以考虑:基础的力学分析;结构件的受力分析;设计、材料采购与验收、制造、焊接机检验、安装、运输、检验试验、使用维护等等过程的质量控制及风险识别。具体如下:a关键件的识别及验证;b重要物料的采购及监督验收;c重要生产件的评审跟踪;d重要件的检验及不合格品的控制;e编制试验大纲、检验大纲;f制定风险管理计划。
3.机械系统设计
3.1立柱设计
(1)根据工况要求,该游乐设备的摆臂要完成±120°的摆动,采用四立柱结构。
(2)四立柱组合成龙门式结构,稳定性好,抗风暴的能力强。
(3)根据刚度、强度要求,参考国内外同类产品的结构,选用φ630的厚壁管,下部锥形,较为美观。
(4)考虑运输、安装方便,管的上部与驱动体的连接采用法兰连接,管与管之间用法兰连接。
(5)图2中管的下部通过轴1、关节轴承2与底座连接,便于调节四立柱高度差。结构合理,便于装配。

图2
(4)底座周围有加强筋,使底板受弯矩减小。
(5)焊缝进行无损检查,零部件进行有限元分析,确保安全可靠。
(6)根据美观要求,立柱外部设计装饰灯。
3.2升降平台设计
(1)根据使用要求,并考虑减轻重量,采用方钢管焊接。
(2)平台1的升降,可以用液压缸2完成,也可以用气缸2完成。
(3)考虑环保要求,选用气缸连接平台,完成其升降。
(4)三位五通电磁阀在得电状态下,气缸杆推动平台升起。若突然失电,由于其具有记忆性,仍会保持原状态。若突然停气,阀芯移位处于保压状态。所以本设计较为安全。
(5)焊缝进行无损检查,零部件进行有限元分析,确保安全可靠。
(6)鱼眼接头3,调整方便。

图3
3.3摆杆设计
(1)摆杆结构简单,为了降低成本,缩短制造周期,本设计选用焊接式结构。
(2)考虑运输、装配要求,下摆杆的上下两端设有法兰,便于与相应零部件连接。
(3)考虑构件的刚度、强度,采用矩形结构。
(4)根据结构形式、载荷特性、应力状态、连接方法、工作环境确定材料Q235B。
(5)焊缝进行无损检查,零部件进行有限元分析,选取较大的安全系数,确保设计安全可靠,万无一失。

图4
3.4摆动装置设计
3.4.1结构特征
(1)考虑受力均衡,选用电机1、减速器3各四台。
(2)考虑安全冗余,左侧电机1、减速器3选用两台,并一同装在减速器座上,与回转支承组成齿轮传动。右侧亦然。
(3)为了实现设备摆动功能,左右侧回转支承4各选用一件;
(4)根据结构形式、载荷特性、应力状态、连接方法、工作环境确定材料Q235B;
(5)考虑工艺因素,驱动转体5采用焊接结构,法兰式连接;回转座2采用焊接结构,法兰式连接。便于运输装配。
(6)为减小空间,选用电机1、减速器3直连结构。
(7)焊缝进行无损检查,零部件进行有限元分析,选取较大的安全系数,确保设计安全可靠,万无一失。

图5
3.4.2摆动原理
电机1、减速器3将动力传给摆臂驱动齿轮7,摆臂驱动齿轮7将动力传给回转支承6,而使驱动转体带动摆杆及转盘往复摆动。
3.5转盘机构设计
3.5.1结构特征
(1)根据工艺需要,将转盘臂连接环7分成五段,各段连接采用法兰连接,便于运输装配。
(2)转盘体4、转盘臂6、转盘臂连接环7通过法兰连接,便于运输、装配。
(3)考虑安全因素,电机8减速器9各选用两台。
(4)为了实现设备转动功能,回转支承11选用一件。
(5)为减小空间,选用电机减速器直连结构。
(6)由于数量较少,转盘体采用焊接结构,法兰式连接。
(7)焊缝进行无损检查,零部件进行有限元分析,选取较大的安全系数,确保设计安全可靠,万无一失。

图6图7
3.5.2转盘转动原理
电机8、减速器9将动力传给转盘小齿轮10,转盘小齿轮10将动力传给回转支承11,使转盘7及座椅1完成自转。
3.6安全座椅设计
3.6.1结构特征
3.6.1.1压紧机构:
压紧机构主要有支架2、把手1两套、压杠3两套、安全锁液压缸4两套及安全带组成,对乘客的身体起阻挡作用,防止人体上下滑溜,保证乘客安全。如果压杠3失效,安全带也可以保证乘客安全。

图8
要求:
(1)螺栓连接要可靠,采取必要的防松措施。
(2)焊缝进行无损检查,零部件进行有限元分析,选取较大的安全系数,确保设计安全可靠,万无一失。
(3)座椅支架2、安全压杠3符合人机工程学原理。
(4)座椅椅背、坐垫及安全压杠都附有软材料,让乘客坐着舒适又安全.。
(5)安全锁液压缸4安全可靠。
3.6.1.2执行机构:
执行机构主要有转轴6、气弹簧5、安全锁液压缸4等件组。转轴6、安全锁液压缸4给安全压杠3提供转动支撑,气弹簧5用于安全压杠3的自动松开。

图9
要求:
(1)螺栓连接要可靠,采取必要的防松措施。
(2)焊缝进行无损检查,零部件进行有限元分析,选取较大的安全系数,确保设计安全可靠,万无一失。
(3)转轴6进行探伤,保证质量。
(4)气弹簧的尺寸合理,力的大小合适;两安装联接点连线尽可能与气弹簧摆动时的回转中心线垂直,否则会影响气弹簧的正常伸缩,甚至出现卡阻、异响等现象。
3.6.1.3锁紧与保险机构:
锁紧与保险机构主要有安全液压缸4两只等件组成。安全锁液压缸防止压紧机构松开。由于安全锁液压缸不需液压系统控制,也不需动力电,所以安全可靠。
要求:
(1)螺栓连接要可靠,采取必要的防松措施。
(2)焊缝进行无损检查,零部件进行有限元分析,选取较大的安全系数,确保设计安全可靠,万无一失。
(4)安全液压缸4的尺寸合理,力的大小合适,符合安全冗余的要求。
3.6.2安全座椅工作原理
安全座椅采用人工按下压杠6,由于安全锁液压缸4的作用,安全压杠6闭合,保证乘客安全。如果一组安全锁液压缸4失效,另一组也可以保证安全压杠6不松开,从而保证乘客安全。气弹簧2用于安全压杠的松开。

图10
3.7.整机及关键零部件的使用寿命
3.7.1产品整机在正常使用维护保养情况下的设计使用寿命为8年;实际使用寿命按实际使用
频率及实际情况,由国家授权的检验机构年检时根据设备实际状况而定。
3.7.2主要受力件、关键件的使用寿命
序号
主要受力件、关键件
图号
使用年限
1
立柱
8年
2
轴
8年
3
转盘与吊臂
8年
4
下摆杆
8年
11
座椅
8年
12
驱动转体总成
8年
13
回转座
8年
14
驱动转体
8年
3.8救援及疏散措施的考虑:
救援器材:救援凳
(1)确认突发性停电或设备暂时无法修复故障;
(2)断开断路器;
(3)等待设备停稳;
(4)将救援凳置于转盘与升降平台最近点,且安放平稳;
(5)救援人员爬到座椅后部;
(6)按动所对应的座椅气动手动阀杆,压杠会在弹簧作用下缓慢打开;
(7)解开安全带;
(8)引导乘客安全离场;(乘客从座椅上下到平台时,注意救援凳不要倾翻)
(9)等待恢复供电或设备修好。
4.传动系统设计
4.1摆动装置设计
减速器速比i=358.1
电机转速n=1500rpm
小齿轮齿数Z1=26
回转支承齿数Z2=106
摆动装置转速n=n减速器Xn传动=(1500/35.1)X(26/106)=10.48rpm(约10rpm)
4.2转动装置设计
减速器速比i=29
电机转速n=1440rpm
小齿轮齿数Z1=20
回转支承齿数Z2=127
摆动装置转速n=(1440/29)X(20/127)=7.3rpm(约7rpm)
5.气动系统设计
5.1气动系统组成
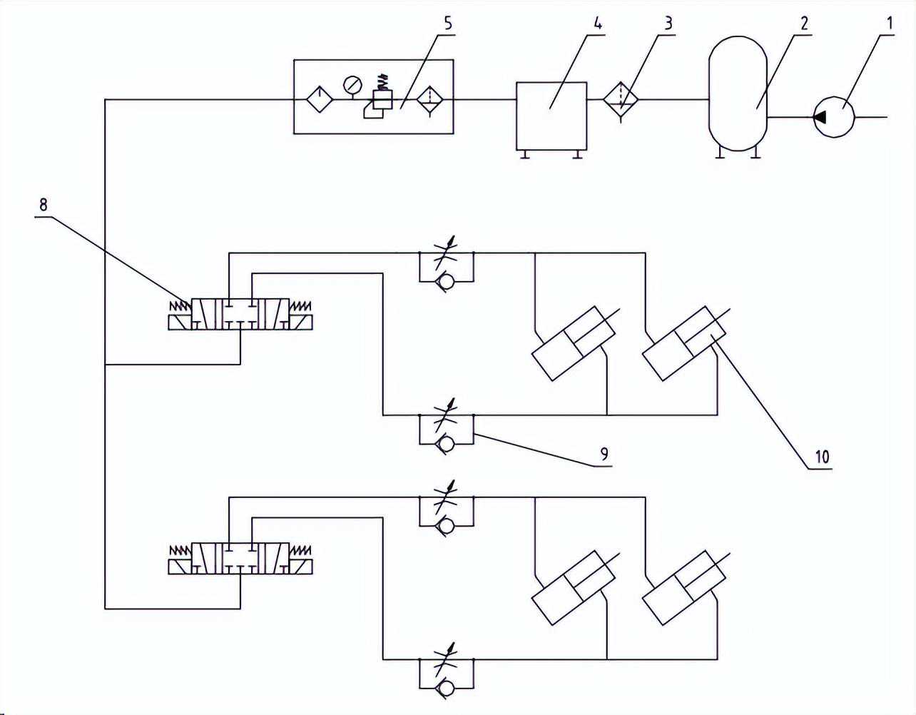
气动系统主要有螺杆式压缩机1、储气罐2、干燥机4、过滤器3、三联体5、气缸10、三位五通双电控电磁阀8、节流阀9等件组成。见图11

图11
5.2气动系统工作原理
螺杆式压缩机提供动力,保证气缸、控制阀正常工作。储气罐内储存一定量的空气,可以调节供气、稳定工作压力,以备气源断电情况下进行紧急处理。干燥机用以除去压缩空气中的水分,得到干燥的空气。粗细过滤器的作用是除去压缩空气中的杂质。减压阀的作用是将压力调到规定的输出压力,并保证输出压力稳定,不受空气流量变化及气源压力波动的影响。大气缸用以完成升降平台的升降,小气缸用以完成安全压杠的开启。
5.4设计步骤
确定气缸的使用条件、确定传动回路、气缸的计算、选择控制元件、管路选择、选择空压机。
5.5气缸的选择
(1)满足标准:GB8408-2008,游乐设施安全规范
GB/T18164-2008,观览车类游艺机通用技术条件。
(2)满足使用工况:在电气系统控制下,φ200x800气缸可以实现平台的升降功能。
平台重量:3300kg,在气缸轴向分力:45200N。气缸在工作压力0.5MPa的条件下,缸径200mm的推力为62800N,可满足要求,具体型号为SC-200*880-TC。外形如图:

图12
根据平台升降距离,计算气缸行程880.气缸的缓冲符合标准要求。
(3)满足安装要求:利用有限空间,采用耳环型摆动连接,满足设计要求。
(4)满足使用环境:适于风、雨、腐蚀、温度-2∽40°、湿度90%的要求。
5.6电磁换向阀的选择
(1)满足标准:GB8408-2008,游乐设施安全规范
GB/T18164-2008,观览车类游艺机通用技术条件。
(2)满足使用工况:电磁阀能可靠地换向、复位;公称通径、介质种类、工作压力、额定电压、连接方式、安装方式、介质温度、环境温度、阀体材质及特殊功能要求符合设计要求;在电气系统控制下,可以完成气缸的推拉动作。
5.7过滤器的选择
(1)合理地选择空气过滤器的组合级数和各级的效率。
(2)选择过滤器的类型.根据过滤对象的不同,选择不同类型的过滤器.
(3)按所需处理的空气流量选择相应规格的过滤器。
5.8油雾器的选择
应根据通过油雾器的最大输出流量和最小滴下流量的要求,选择油雾器的规格。
5.9减压阀的选择
(1)根据通过减压阀的最大流量,选择阀的规格.
(2)根据功能要求,选择阀的品种.
5.10干燥机的选择
(1)干燥能力:根据系统需要,通过计算来确定干燥机的干燥能力。
(2)冷阱温度:冷阱是冷冻干燥过程捕获溶剂的装置,理论上讲,冷阱温度越低,冷阱的捕集能力越强,但冷阱温度低,对制冷要求高,仪器成本及运转费用都相应增加。
(3)极限真空度:极限真空度体现冻干机的泄漏情况及真空泵的抽气效率。
(4)控制系统:冻干机的控制系统类型主要可根据需要来进行选择。
5.11储气罐的选择
(1)材料:根据使用要求,选择储气罐的材料。
(2)储气罐容积与压力:根据使用要求,选择合适容积与压力的储气罐。
5.12螺杆式压缩机的选择
(1)考虑排气压力的高低和排气量大小。
(2)考虑用气场合和条件。
(3)考虑压缩空气质量。
(4)是要考虑压缩机运行的安全性。
6.电气系统设计
6.1电气系统的组成
本设备电气控制系统总体分四部分:操作台PLC控制箱、主控制柜、驱动电机控制柜、座椅检测控制箱。
6.2电气系统工作原理
6.2.1操作台PLC控制箱工作原理
采用日本三菱FX2N系列可编程序控制器及三菱F940GOT触摸屏,可编程序控制器主要用于采集工作人员的操作信号,经过处理后通过通讯模块与主控制箱进行通讯,实现对整个设备的操作,触摸屏主要监控设备运行状态及参数,操作台面板除在触摸屏画面中设置设备状态灯外,还在面板上有设备运行状态灯保证可靠性。
6.2.2主控制柜采用日本三菱FX2N系列的FX2N-128MR-001PLC作为主控制单元,对整个设备的状态信号进行采集、处理、传送,以实现对整个设备的控制。采用FX2N-485通讯模块,接受来自操作台的操作信号和来自座椅检测控制箱的检测信号,同时选用FX2N-4DA特殊功能模块,输出模拟信号传送给直流电机控制器,实现对直流电机的速度控制。同时采用变频调速器对转盘的速度进行调节控制,以达到满意的转动效果。
6.2.3驱动电机控制柜采用4台英国欧陆的直流电机控制器,实现对4台主驱动电机的调速控制。
6.2.4座椅检测控制箱的PLC主要用于检测座椅是否锁紧到位,然后将信号通过通讯模块传送给主控制柜的PLC,主控制PLC根据得到的信号判断设备是否具备启动运行条件。同时接受主单元的信号,对座椅实现开锁控制。
6.3电气系统设计步骤
根据市场调查及反复论证,最终确定整个设备的控制方案
6.3.1操作台选用日本三菱FX2N-64MR的高性能可编程序控制器作为操作台主要的控制单元,通过FX2N-485通讯模块接受来自面板的操作信号,传送给主控制柜,实现对整个设备的操作控制。同时通过通讯模块接受来自主控制柜的设备参数及故障信号,经过处理后传送给显示单元F940GOT-SWD-C触摸屏,使操作者能很直观的得到设备的运行情况。
6.3.2主控制箱采用标准的GGD柜体,控制中心采用日本三菱FX2N-128MR-001的高性能可编程序控制器及FX2N-4DA通讯模块,实现对操作信号及故障信号的采集、处理、传送,涉及到设备控制的重要环节的电器元件全部采用著名的品牌,以保证设备的可靠运行。转盘的转动速度用变频调速器控制,可以方便的设定转速及对转盘的制动控制。采用光洋编码器检测设备的运行情况,将参数传送给主控单元PLC,主单元根据事先设定的运行程序及时的发出对电机的控制信号,控制电机的正反转及速度控制。
6.3.3电机控制柜选用与主控制柜相同的柜体,内部安装四台直流电机控制器,电机控制器选用国际著名的欧陆品牌,保证电机的可靠运行,每台电机都安装一个编码器,用来对电机的速度进行控制,保证电机速度的一致性。
6.3.4座椅控制的设计主要是检测座椅压杠的锁紧情况,座椅必须全部锁紧,设备才可以运行,这是设备运行的主要条件,座椅锁紧的信号通过接近开关传送给检测单元的PLC,PLC在得到信号以后对30个座椅的锁紧状态进行识别,在得到30个座椅全部锁紧的信号以后,将此消息传送给主控制柜的控制中心,控制中心将此信号发送个操作台,并通过信号灯将此信号告知操作者,操作者才能启动设备进行运行。
6.4操作规程
6.4.1操作面板
名称
说明
电压表
显示配电线路电压
电流表
显示配电线路总电流
指示灯
电源
供电正常指示灯亮
故障
出现异常情况报警
静止
设备完全停止后灯即亮
安全杠
所有的压杠完全压下后指示灯亮
允许运行
所有启动条件都满足时指示灯亮
复位
手动复位非正常停车时旋转编码器的积累误差
立柱灯饰
立柱灯饰开关
摆锤灯饰
摆锤灯饰开关
旋转
转盘旋转手动启动
复摆
转盘摆动手动启动(非经验的人员请勿操作)
模式选择
手动运行,自动运行转换
电源开关
钥匙开关控制电源
摆角选择
三种角度选择,客户自选
液压
升降平台的液压站起停控制
安全杠控制
用于控制液压锁的开启
运行
按下时设备开始自动运行
平台升降
平台上升,供游客行走,平台下降到底,设备才运行
急停
按下时运行中的设备执行停止程序
电铃
按下时电铃响起,提醒顾客设备开始运行
触摸屏
显示参数及报警信息
注:以下操作部分若不作说明,即为操作面板上的操作
6.4.2操作规程
6.4.2.1拧开钥匙开关,电源指示灯亮
6.4.2.2根据需要调整摆角选择开关70度,90度,120度
6.4.2.3设备自动、手动运行方式选择开关置为自动状态。
6.4.2.4根据需要可以选择使用立柱灯饰和摆锤灯饰为工作状态,一般情况下为停止状态已
节省电能。
6.4.2.5使平台升降选择开关置为上升状态,使平台到达水平安全位置。
6.4.2.6一切准备好后,管理员打开入口门,引导游客入场,一人一座均布入席,避免偏载
6.4.2.7工作人员手动将座椅安全杠压到位后,座椅到位指示灯亮
6.4.2.8工作人员手动将座椅安全带扣紧并确保牢固可靠
6.4.2.9按电铃提醒游客注意
6.4.2.10按运行按钮启动设备运行
6.4.2.11运行完毕设备自动停止
6.5注意事项
6.5.1正常运行过程中禁止按动急停按钮
6.5.2正常自动运行过程中除急停按钮外其他的任何操作都是无效的
6.5.3当模式选择开关为手动状态时,复摆旋钮的操作应由有经验的操作人员来操作。
6.5.4非专业人员禁止操作本设备
6.5.5非专业人员禁止对本设备进行维修和保养
7.外购件选用
7.1外购件选用原则
(1)满足标准:GB8408-2008,游乐设施安全规范
GB/T18164-2008,观览车类游艺机通用技术条件。
(2)满足运行工况:载荷类型、运行时间、启动频率。
(3)满足安装要求:根据结构确定安装尺寸。
(4)满足功能要求:保证系统摆动平稳可靠,不应有异常的震动、冲击、发热、声响及卡滞现象。
(5)满足使用环境:风、雨、腐蚀、温度-2∽40°、湿度90%。
7.2摆动装置外购件选用
7.2.1直流电机Z4-180-1(37kw/1500rpm)
(1)满足标准:GB8408-2008,游乐设施安全规范
GB/T18164-2008,观览车类游艺机通用技术条件。
(2)满足运行工况:直流电机启动转矩大、过载能力强、调速方便。适合短时过载、断续工作、频繁启动、正反转的要求。
(3)满足安装要求:结构紧凑、体积小、重量轻,可节省工作空间,适合大摆锤的设计要求。
(4)满足功能要求:与减速器直联,带动驱动转体与下摆杆摆动,可以实现设备的摆动功能。
(5)满足使用环境:适于风、雨、腐蚀、温度-10∽35°、湿度90%的要求。
(6)满足传动系统的要求:转速1500rpm。可满足摆动转速10rpm的要求。
7.2.2摆动用回转支承012.40.1120.12
(1)满足标准:GB8408-2008,游乐设施安全规范
GB/T18164-2008,观览车类游艺机通用技术条件。
(2)满足运行工况:回转支承可同时承受轴向力、径向力和倾覆力矩的作用。适合断续工作、频繁启动、正反转的要求。
(3)满足安装要求:回转支承具有结构紧凑、重量轻、结构钢性好、运转平稳、精度高、安全可靠等特点。适合大摆锤的设计要求。
(4)满足功能要求:回转支承采用螺栓将其一部分固定在回转体座上,另一部分固定在驱动体座上进行传力和传动,实现设备的摆动功能。
(5)满足使用环境:适于风、雨、腐蚀、温度-10∽35°、湿度90%的要求。
(6)满足传动系统的要求:齿数Z2=106,与之配套的小齿轮齿数Z1=26。可满足摆动转速10rpm的要求。
7.2.3行星减速器
(1)满足标准:GB8408-2008,游乐设施安全规范
GB/T18164-2008,观览车类游艺机通用技术条件。
(2)满足运行工况:行星减速机的承载能力好、运转稳定性高,振动小、噪音低,且使用寿命长。适合短时过载、断续工作、频繁启动、正反转的要求。
(3)满足安装要求:行星减速机的结构紧凑、体积小、重量轻,可节省工作空间,适合大摆锤的设计要求。
(4)满足功能要求:与电机直联结构,带动驱动转体与下摆杆摆动,可以实现设备的摆动功能。
(5)满足使用环境:适于风、雨、腐蚀、温度-10∽35°、湿度90%的要求。
(6)满足传动系统的要求:i=38.1,可满足摆动转速10rpm的要求。
7.3转动装置外购件选用
7.3.1电机
(1)满足标准:GB8408-2008,游乐设施安全规范
GB/T18164-2008,观览车类游艺机通用技术条件。
(2)满足运行工况:成本低,过载能力强,操作简单,易于控制,可变频调速调速。适合过载、断续工作、频繁启动、正反转的要求。
(3)满足安装要求:结构紧凑、体积小、重量轻,可节省工作空间,适合大摆锤的设计要求。
(4)满足功能要求:与减速器直联,带动回转体与圆盘、座椅转动,可以实现设备的转动功能。
(5)满足使用环境:适于风、雨、腐蚀、温度-10∽35°、湿度90%的要求。
(6)满足传动系统的要求:转速1440rpm。可满足圆盘转动转速8rpm的要求。
7.3.2转动用回转支承011.40.1120.10
(1)满足标准:GB8408-2008,游乐设施安全规范
GB/T18164-2008,观览车类游艺机通用技术条件。
(2)满足运行工况:回转支承可同时承受轴向力、径向力和倾覆力矩的作用。适合过载、断续工作、频繁启动、正反转的要求。
(3)满足安装要求:回转支承具有结构紧凑、重量轻、结构钢性好、运转平稳、精度高、安全可靠等特点。适合大摆锤的设计要求。
(4)满足功能要求:回转支承采用螺栓将其一部分固定在回转体座上,另一部分固定在摆臂上进行传力和传动,实现设备的转动功能。
(5)满足使用环境:适于风、雨、腐蚀、温度-10∽35°、湿度90%的要求。
(6)满足传动系统的要求:齿数Z2=127,与之配套的小齿轮齿数Z1=20。可满足转动转速8rpm的要求。
7.3.3摆线针轮减速器XL-6-29
(1)满足标准:GB8408-2008,游乐设施安全规范
GB/T18164-2008,观览车类游艺机通用技术条件。
(2)满足运行工况:摆线针轮减速器的过载能力好、运转平稳噪音低、故障少寿命长、体积小重量轻、传动效率高。适合短时过载、频繁启动、正反转的要求。
(3)满足安装要求:摆线针轮减速器的结构紧凑、体积小、重量轻,可节省工作空间,适合大摆锤的设计要求。
(4)满足功能要求:与电机直联结构,带动回转座与圆盘转动,可以实现设备的转动功能。
(5)满足使用环境:适于风、雨、腐蚀、温度-10~35°、湿度90%的要求。
(6)满足传动系统的要求:i=29,可满足转动转速8rpm的要求。
7.4高强度螺栓的选择
7.4.1螺栓的拧紧力矩
图纸规定有拧紧力矩要求的紧固件,应采用力矩扳手,并按规定的拧紧力矩紧固。
螺栓选择依据是螺栓的强度计算书。
螺栓允许的预紧力及允许拧紧力矩表
螺栓规格
允许预紧力KN
允许拧紧力矩Nm
6.8级
8.8级
10.9级
6.8级
8.8级
10.9级
M8
14
16
23
21
25
35
M10
22
26
37
41
49
69
M12
31
37
50
70
84
120
M16
60
71
100
176
206
350
M20
94
111
160
338
402
600
M22
116
138
190
456
539
900
M24
135
160
220
588
696
1100
M27
177
210
290
873
1030
1650
M30
216
257
350
1177
1422
2200
M33
275
326
459
1668
1977
2784
M36
323
328
510
2134
2524
3340
7.4.2螺栓的防松措施
(1)弹簧垫圈:靠垫圈压平后产生的弹力。
(2)双螺母:利用螺母拧紧后的对顶作用。
(3)涂胶粘剂:在旋合螺纹表面涂以厌氧性粘合剂,拧紧螺母后,粘合剂硬化、固着,效果良好。
7.4.3螺栓选择
(1)满足标准:GB8408-2008,游乐设施安全规范
GB/T18164-2008,观览车类游艺机通用技术条件。
(2)满足使用工况:根据受力情况及结构尺寸要求,确定螺栓的布置方式、数量、长度、防松措施;螺栓组的形心与结合面形心尽可能重合;螺栓组的位置应使螺栓受力合理,保证满足强度要求;留出适当的扳手空间,便于维修。
(3)满足使用环境:适于风、雨、腐蚀、温度-2~40°、相对湿度不大于90%的要求。
7.5电磁制动器的选择
(1)考虑工作机械的工作性质和条件,选用电磁制动器。
(2)考虑合理的制动转矩。
(3)考虑安装地点的空间大小。
(4)对主要零件进行强度计算,其中制动臂和传力杠杆等还应进行刚度验算。
(5)对摩擦元件进行发热验算。
7.6重要机电产品清单
序号
名称
代号
备注
1
电机
2
摆线针轮减速器
XL-6-29
回转支承
011.40.1120.12
3
直流电机
Z4-180-1(37kw/1500rpm)
4
行星减速器
6
回转支承
012.40.1120.12
7
变频调速器
8
直流调速器
8.载荷试验
8.1试验条件
(1)试验时风速不大于8m/s。
(2)试验时的环境温度-2~40℃,相对湿度不大于90%。
(3)试验载荷与其额定载荷的误差不大于±5%。
8.2试验仪器与量具
序号
仪器与量具名称
精度要求
备注
1
测速仪
±1km/h
2
温度计
±1%
3
温湿度计
±2%
4
动静态应变仪
静态系统<3%,动态系统<8%
5
动静态应变仪
静态系统<3%,动态系统<8%
6
垂直度测量仪
2mm+2μm
7
水平度测量仪
2mm+2μm
8
绝缘电阻测试仪
±2%
9
接地电阻测试仪
10
压力表
±7Pa
11
力矩扳手
12
风速表
±0.4%
8.3试验项目
8.3.1空载试验
空载运行试验时,分别进行手动和自动试验不少于3次。然后,按照实际工况连续运行时间不少于8小时。在运行过程中,按照试验内容和要求进行检查。
a.试验内容与要求:
(1)设备运行平稳可靠,不允许有爬行和异常的振动、卡滞、冲击、发热和声响等现象
(2)运行中不应产生明显晃动,转臂动作应协调可靠
b.试验方法:
样机运行时,感官判断。
8.3.2满载试验
满载运行试验时,在各座椅内,按照额定载荷均布加载,按照实际工况累计试运行时间不小于80小时,出具试验记录。其中有两天、每天连续运行时间不小于8小时。试验机构在申请单位试运行合格的基础上,进行8小时或80次连续运行试验;在运行过程中,按照试验内容和要求进行检查。
2.2.2.1整机运行状态
a.试验内容与要求:
(1)运行平稳可靠,不允许有爬行和异常的振动、卡滞、冲击、发热和声响等现象
(2)运行中不应产生明显晃动,转臂动作应协调可靠
b.试验方法:
样机运行时,感官判断。
8.3.3偏载试验
偏载运行试验时,按设计偏载工况加载,连续运行试验次数不少于3次。
a.试验内容与要求:
(1)运行平稳可靠,不允许有爬行和异常的振动、卡滞、冲击、发热和声响等现象
(2)运行中不应产生明显晃动,转臂动作应协调可靠
b.试验方法:
样机运行时,感官判断。
8.3.4应力测试
a.测试标准:
依据GB/T18164《观赏车类游艺机通用技术条件》执行。
b.测试条件及方法:
1)测试前应经额定载荷下的试运转。
2)按表测出各点的应变值
测试状态
加载情况
被测件
试验方法
每个座椅内加额定载荷,加载过程中
额定载荷
动应力测定
满载运行
动应力测定
满载静止
静应力测定
3)每种工况重复测试不少于3次.
4)计算安全系数
c.判定标准:
安全系数符合GB8408-2000中7.6的规定。
9.安全措施
9.1安全要求
(1).凡操作、维护、安装设备人员,必须熟悉本设备的结构、性能。否则,所造成的设备、人身事故,本公司不负责任。
(2)设备安装、拆卸时,要设置隔离区,无关人员不得入内.。
(3)设备操作时,操作范围内不允许堆放任何杂物或闲杂人员进入,以免影响操作人员的操作;设备操作范围内的照明必须充分;设备运转过程中,操作人员不得擅自离开工作岗位;
(4)设备维修时,应按下急停按钮;关闭所有开关或主开关并锁定;关闭出入口,确保无关来访人员进入设备;高空作业时,时刻佩戴安全帽和安全带;在操作台上明显位置放置维护标识。
9.2安全冗余的考虑
综合分析各种风险因素,按照较为苛刻的条件进行相应的计算:应力计算、刚度计算、疲劳强度计算、稳定性计算、有限元分析等;选取较大的安全系数或设计两套独立的安全机构,确保设备可靠运行。
10.应急情况处理
本预案是该游乐设备在正常运行中遇到突发事件时,为及时解救乘客而制定的。
救援器材:救援凳
(1)断开断路器
(2)等待设备停稳;
(3)将救援凳置于转盘与升降平台最近点,且安放平稳;
(4)救援人员爬到座椅后部;
(5)按动所对应的座椅气动手动阀杆,压杠会在弹簧作用下缓慢打开;
(6)解开安全带;
(7)引导乘客安全离场。
注意事项:乘客被疏导后一定要将救援凳安放在指定地点,以免设备再次启动时发生危险。
11.维护与保养
11.1金属结构件的维护保养
(1)金属结构件防腐保养必须每年进行一次,发现有锈蚀﹑油漆脱落﹑龟裂﹑风化等现象时,应进行清理﹑除锈、修复。
(2)金属结构件各连接点(焊缝﹑螺栓)每年检查一次,发现焊缝有裂痕﹑节点松动时,应及时修补及紧固。
11.2座椅的维护保养
(1)每日做一次座椅的外部保洁.
(2)检查坚固件是否有松动、缺失或失效。
(3)每周对压杠机构保养一次,清洁活动部分。
(4)座椅及压杠的防护套采用聚氨酯发泡工艺,除污时应使用细软布浸清水或清洗剂擦拭,避免与硬物接触,以防表面划伤损坏,影响美观。
(5)座椅的后盖,立柱的外装饰等玻璃钢材料,除污时应使用细软布浸清水或清洗剂擦拭,避免与硬物接触,以防表面划伤损坏,影响美观。
11.3回转支承的维护
(1)回转支承滚道内,每运转100小时用油枪注入2二硫化钼极压锂基润滑脂(SH/T0587-1994)。齿面需要经常清除杂物。
(3)回转支承首次运转100小时后,应检查螺栓的预紧力。以后每运转500小时检查一次,必须保持足够的预紧力。
(4)使用中注意回转支承的运转情况,如发现噪音、冲击、功率突然增大,应立即停机检查,排除故障,必须时需拆机检查。
(5)使用中禁止用水直接冲刷回转支承,以防水进入滚道。严防较硬异物接近或进入齿轮啮合区。
(6)经常查看密封的完好情况,如发生密封带破损应及时更换,如有脱落应及时复位。
11.4电机的维护保养
(1)检查电机接线端子螺栓及电机底座固定螺栓是否松动。
(2)检查电机风叶的转动情况。
(3)检查电机外壳是否明显发热,两端轴承是否有漏油等现象。
(4)注意观察电机在运行中是否有不正常杂音、振动及特殊气味。
(5)检查电机转子是否灵活,更换易损件(轴承等)。
(6)检查电机绕组对地绝缘电阻,当绝缘电阻低于0.5MΩ时,必须对电机进行干燥处理。
(7)更换润滑脂。
(8)检查空载电流是否在规定范围之内。
(9)滑环和碳刷:每月做一次滑环和碳刷保洁;每月做一次滑环和碳刷紧固检查;每月检测一次碳刷的磨损量,其碳刷剩余部分不小于20mm,当小于此值时换新件。
11.5减速机的维护与保养
(1)随时注意减速器在运转中有无异声。
(2)检查有无不正常的振动,温度是否合乎规定。
(3)注意观察减速器的上、下结合面和轴端,有无渗油现象,如有渗漏及时消除。
(4)通过油标尺或油面镜,检查油面应在规定位置。
(5)检查电机电流是否超过额定值不下降;
(6)检查紧固件是否松动,并排除故障。
12.对制造运输方面的特殊要求
(1)对已封箱的设备,吊运时应按包装箱上的指示进行,不能倒转或倾侧,更不能直接在地面上拖动。
(2)未作封箱处理的设备,吊运时其着绳处应避开易碰损的零部件,并保证受力位置不受损伤及吊运时平衡;易松脱件应拆卸后再吊运;玻璃钢件应在保证其不受破损的情况下吊运。
(3)设备未安装前应放置于清爽干燥、无腐蚀的地方;若露天放置时,应采取防雨、防晒措施,以防设备损坏。