变频器的常规控制方法之端子控制
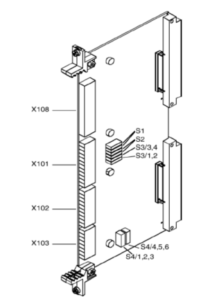
所谓端子控制即变频器的启停指令与速度调节指令来自变频器端子,6SE70的端子位于CUVC板上,CUVC板如下图所示:

常用的X101为数字量输入输出端子,X102为模拟量输入输出端子,X103为速度编码器接口。
我们所说的端子控制,一般分为两种情况:
一种是端子启停固定值控制
一种是端子启停模拟量调速控制
下面咱们先来看第一种:
端子启停,固定值控制
根据功能图S2以及我们在前面所提到的变频器最终要三个参数:
我们在S2这张图上可以看到:
P368=2:表明给定来自固定设定,命令源来自端子排;
P554=22:表明启动指令来自X101-9号端子;
P443=40:表明速度调节指令来自固定设定值;

下面,我们来完成一个实例吧(不考虑电机参数):
开关S1控制电机启动,启动频率10HZ
S2闭合后,频率变为15HZ
S3闭合后,频率变为20HZ
断开S1,变频器停止

接线图

固定设定值和端子控制
参数设置:
P554=22P443=40P368=2
P580=14:X101-5号端子输入的开关量信号;
P581=16:X101-6号端子输入的开关量信号;
P417=1P418=0
P405=10HZP406=15HZP407=0HZP408=20HZ
P563=0P564=0:必须设置为0,因为5/6端子当做DI(数字量输入)用!!
下一期我们讲解端子启动,模拟量输入调速哦!